氣動隔膜泵工作原理及構造精選
氣動隔膜泵工作原理及構造
氣動隔膜泵作為一種與傳統機泵不同的新型泵類,其不像一般機泵一樣要依靠電機來進行驅動,而是靠壓縮空氣為動力源來驅動的,正是這種驅動方式使得其可以在各種危險場所中安全使用,且在接地后不會產生靜電火花。在輸送介質上,對于各種腐化性液體,帶顆粒的液體,高粘度、易揮發、易燃、劇毒的液體,均能予以抽光吸盡。此外,該泵還具有自吸泵、潛水泵、屏蔽泵、泥漿泵和雜質泵等輸送機械的許多優點。而為了讓大家能夠對于氣動隔膜泵的工作原理及構造有所了解,上海沈泉氣動隔膜泵廠家便為大家整理出了以下內容,大家請跟著小編一起來看看吧。
氣動隔膜泵的工作原理

氣動隔膜泵的工作原理基于壓縮空氣驅動隔膜在泵體內做往復運動,從而實現液體的吸入和排出。具體過程如下:
當壓縮空氣進入氣動隔膜泵的氣動部分后,首先推動一個隔膜向另一個方向運動,使泵的一個腔室產生負壓,從而打開吸入閥門,將液體吸入泵內。
隨后,壓縮空氣通過氣動部分內的氣動閥,驅動另一個隔膜向相反方向運動。此時,原先產生負壓的腔室內的隔膜運動,使液體在壓力作用下通過排出閥門排出泵外。
隨著氣動部分內氣動閥的不斷切換,兩個隔膜交替往復運動,實現連續不間斷的液體輸送。
氣動隔膜泵的構造

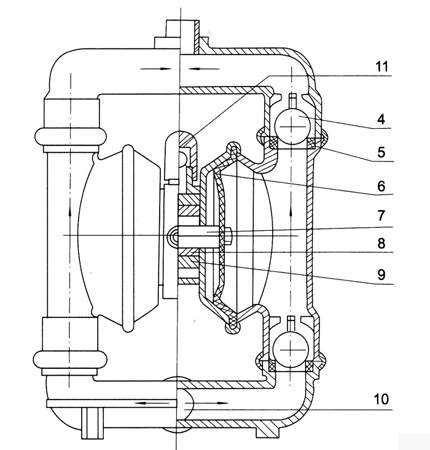
從上圖中,我們可以知道是由1、進氣口 2、配氣閥體 3、配氣閥 4、圓球 5、球座 6、隔膜 7、連桿 8、連桿銅套 9、中間支架 10、泵進口 11、排氣口等組成。值得說明的是,其中的隔膜可以根據輸送介質的不同而替換成丁晴隔膜、氯丁橡膠隔膜、氟橡膠、乙丙橡膠等多種材質。
好了,以上內容由上海沈泉泵閥制造有限公司為大家提供,希望能夠對大家有所幫助。
本文標題: 氣動隔膜泵工作原理及構造本文地址:http://m.comfort8889.com/QA/1818.html
技術服務
推薦產品

- ISG立式管道離心泵
上海沈泉泵閥制造有限公司為您提供:ISG立式管道離心泵的性能參數表,安裝尺

- ISW臥式管道離心泵
上海沈泉泵閥制造有限公司為您提供:ISW臥式管道離心泵的性能參數表,安裝尺

- SPG立式屏蔽管道離心泵
上海沈泉泵閥制造有限公司為您提供:SPG屏蔽管道離心泵的性能參數表,安裝尺

- CQB-L磁力立式管道離心泵
上海沈泉泵閥制造有限公司為您提供:CQB-L磁力管道離心泵的性能參數表,安裝





